Отчёты
Туризм
Гараж
Интересное
GPS-Навигация
Форум
<< Предыдущее фото
Следующее фото >>
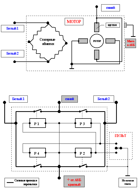
Электросхема подключения лебедки АР 9000.
[
Версия для печати
]
[
Вернуться назад
]
[
В начало страницы
]
©
Александр Обухов
.